The Weirdest and Wildest Collection of Unique Gifts Anywhere!

The more you shop the more people we can help!

W-File: cc970813.html
Type:
Crop Circle
Date: August 13, 1997
Location:
Wausau, Wisconsin
Source:
The Minnesota MUFON web site

A crop circle formation was discovered the first week in August two miles
north of Wausau, WI. An article appeared in the Wausau newspaper. The next
day an additional crop circle formation was discovered nearby. These
formations were in oat fields. They were dumb bell shaped each consisting of
complex patterns of three circles connected by bars.

Chad Lewis, Wisconsin State MUFON Director, volunteered to sample the crop
for Nancy Talbot of the BLT Research Team of crop circle investigators. Chad
sampled the crop in September and will supply a more detailed report in the
near future.
Additional:
From: Casey Holt (Minnesota MUFON FI)
Subject: Wausau, WI CropCircle
I have some additional information on the Wausau Crop Circle. Chad told me
that it was in a newspaper article so on Sunday I went to the library in
Wausau to find it. After a long drive and some searching through the
microfilm I found an article on page 4A in the Wausau Daily Herald dated
Friday, August 15, 1997. It is a small article with a picture and a 1
column of text. Apparently the paper said the Crop Formation shown was
made Wednesday or early Thursday which I would interpret to be August 13, or
August 14 which would be the 2nd week of August.
It also gave the location which and when I looked on a map was about 2
miles East of Wausau. I then drove to that site and recognized the small
shed shown in the picture and could also still see a darker outline of part
of the Crop Formation. I could see where the cut stalks were not sticking
up and just grass was growing. The field was cut but not plowed. It
looked like it was on a slight inclined hill and I could see one larger
circle to the North and a smaller one to the south, which in the picture is
more like a ring. This is also what Chad said that there was some standing
crop in the second circle. It was getting dark and hard to see if there
was a third circle. The two circles could have been connected by a narrow
strip which would give it a dumbell shape as it appears in the picture.
The picture also shows what looks like power lines in the foreground and I
remember seeing power lines along the road.
This is what the newspaper article says entitled, Crop circles:
Vandals stomped down a crop circle in a field in the town of
Wausau at Highway N and 41st Street late Wednesday or early
Thursday. Since the mid-1970s, crop circles appeared in different
forms in farm fields throughout the world, mostly England. At first,
people believed they had been formed by visiting UFOs, possibly as
some sort of message. Tibetan Buddhists believe the circles are
symbols of heavenly communication connected to powerful figures of
the past. According to Internet information, most of the circles
appeared near Avebury, England -- an area associated with King Arthur
and with the first church of Jesus Christ, built by Joseph of Aramathea.
In 1991, England residents Dave Chorely and Doug Bower admitted they
had created the crop circles as a hoax. However, the idea for the
hoax came from a case in Queensland Australia where a UFO reportedly
flew out of a swirled patch of marsh grass.
Below the picture it reads: Bob Radunz/Wausau Daily Herald
I did not see where the other formation might have been as it was getting
dark at the time. Hopefully Chad's report should tell us more information.
Thanks
Casey Holt
Crop Circle Report by Chad Lewis
WAUSAU, WI CROP CIRCLES - Aug 1997
Report From Chad Lewis - WI MUFON State Director
On September 10 I contacted Nancy Talbot of BLT research about
investigating the crop circles in Wausau. She sent me a copy of
the article that appeared in the August 15th edition of the Wausau
newspaper. On Thursday September 11th I drove to Wausau. The farm
land was located at Highway N and 41st Street. I arrived at 9:00 AM
and proceeded to talk with the owner of the land who made it very
clear that he wanted to remain anonymous. He seemed very nervous
and looked as though he just wanted to return to his chores. he
agreed to a few questions. He had confirmed that no one else from
any other agency had contacted him. He told me that the circles had
appeared either late in the evening on Wednesday the 13th of August
or early morning Thursday the 14th of August. When asked if he had
seen any unusual people or sights in the area around that time he
said "no". He then informed me that the crop was cut about 7-10
days earlier. His house sits on top of a hill about 200 feet East
of the circles. He then told me to do what ever I needed to do for
the investigation. He told me that he assumed that young kids did
this to his crop. When asked why he felt like this he replied "who
else would have done this". As we walked toward the circles I
noticed that on the other side of the hill toward the West was a
still very noticeable Crop Circle that had not been reported in
the newspaper. He told me that this circle appeared on the Saturday
morning after the paper came out. That would make it the 16th of
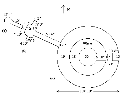
August. I then proceeded to take pictures and measurements of the
Crop Circle which is listed as (1), (2), (3) in the drawing and on
the back of the photographs. The new set of circles are labeled (4),
(5), (6). As previously mentioned the oat had already been cut down,
which made a good photo of the area more difficult. I was not able
to get soil samples from the circles, but Nancy informed me that
someone else may go to the area to collect samples. At this point
I can't confirm this. As the drawing shows the circles move SE
with each circle getting smaller in size. Being that nearly a
month had passed it was possible to see the outline of the circles
due to the deep green color that was contrasted to the brown color
directly around them. As I was taking measurements of the circle
a gentleman pulled up and told me he lives a few miles East of this
farm and he saw these circles on Saturday afternoon on his way home.
He said that he once worked for an airline company and he seemed to
recognize these circles, yet he was unable to recall from where or
as to what it meant.
Map of area
1st circle details
2nd circle details
The second set of circles were directed from West to East with the largest end
facing East. These circles were in wheat which had not been harvested. There was
a path way to the circles that may have been made by somebody else investigating
or looking at them. it was now about 6 PM and I had just finished making
measurements of the "new" three that were unexpected in the investigation. I
then traveled back to Eau Claire where I called in my report to Nancy. If any
one has any new information or would like more info on this report feel free to
contact me at UnexplainedResearch.com
Source: Crop Circle Connector

A circle appeared in the town of Wausau Wisconsin on Wednesday August 13th 1997. It was
reported in the local paper, the Wausau Daily Herald, on Friday August 15th 1997.
All photos by Roger Durkee.
Looking for Paranormal
Investigating Equipment? Find it all at
GetGhostGear.com!

Help show your support for this site and our efforts by visiting
www.GetGhostGear.com,
UFOWisconsin.com and any links
below!
All information contained above and elsewhere on
www.W-Files.com has rights
reserved to GetGhostGear.com Enterprises
and appropriate permissions must be gained before utilizing anything contained
here on www.W-Files.com to aid in
assuring our visitors, report filers and resources used to bring this site to
you have all protections and due rights made available. Interested parties
please contact us through "Copy Right Services @ GetGhostGear.com"
Disclaimer: W-Files.com has not verified the validity of every
report published within the W-Files.com. All reports are added to
the database 'as is' received. The reports posted have many
possible explanations, including but not restricted to known natural
earthly phenomena, hoaxes etc. We leave it up to the individual
viewer to judge the report based upon the content of the report
itself. As investigations occur, that information will be notated
on the individual report.